Nombre Parcourir:0 auteur:Éditeur du site publier Temps: 2026-02-28 origine:Propulsé
La fonction du moule cylindrique de machine à papier
Le moule cylindrique est le composant principal sur lequel la bande de papier est formée dans la machine à papier cylindrique. Exiger qu'il filtre l'eau uniformément et ne génère pas d'agitation excessive dans le réservoir à mailles pendant la rotation. Le moule cylindrique doit avoir une rigidité suffisante et des dimensions géométriques précises et doit être installé horizontalement.
Les moules cylindriques sont divisés en : moules cylindriques ordinaires, de type puce, d'aspiration et sous vide en fonction de leur structure ; Divisé par matériau : moule cylindrique ordinaire, entièrement en cuivre, en acier inoxydable.
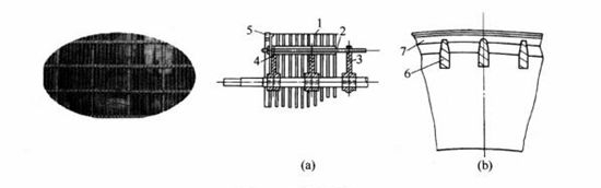
L’image ci-dessous est un diagramme schématique d’une structure typique de moule cylindrique.

Un dispositif de nervure de support en laiton appelé rayons est installé sur l'arbre en fonte, avec un espacement des rayons de 100 à 150 mm. Les rayons soutiennent la jante centrale et sont entourés de rainures. Les rainures sont équipées de barres horizontales de même longueur que le moule cylindrique. Le diamètre de la barre horizontale est d'environ 1 cm, avec un entraxe d'environ 4 cm, parallèle à l'axe central. La barre horizontale est en acier ou en laiton et sa section peut être circulaire ou rectangulaire. Les deux roues les plus extérieures sont moulées avec des anneaux saillants pour former un joint avec les parties correspondantes de la rainure en treillis, isolant ainsi l'intérieur et l'extérieur du moule cylindrique. Fraisage de petites rainures dentelées sur la barre horizontale selon une ligne en spirale, enroulement d'un fil métallique continu d'un diamètre d'environ 3 mm en forme de spirale autour du moule cylindrique pour former un cadre cylindrique en maille en forme de cylindre. L'écart entre les fils métalliques adjacents est d'environ 1 cm. Enfin, recouvrez le fil de cuivre d'une couche plus épaisse de treillis en laiton ou en acier inoxydable, puis recouvrez-le d'un treillis plus fin utilisé pour la fabrication du papier. Le treillis intérieur et le treillis de surface sont des treillis d'extrémité, qui sont serrés sur le cadre du moule cylindrique avec des outils spéciaux et reliés par soudage à l'argent ou soudage électrique. L'assemblage final doit être bien rond et concentrique à l'axe central, avec une rigidité suffisante pour résister à la pression des rouleaux sans déformation. La plage de diamètres du moule cylindrique standard est d'environ 1 à 1,5 m et la spécification couramment utilisée est de 1,2 m.
Le dispositif de roulement du moule cylindrique est situé à l’extérieur de la rainure en treillis. Les deux extrémités du moule cylindrique sont reliées à la boîte latérale de la fente en treillis. Une fois la pâte connectée à la grille, l'eau blanche filtrée dans le moule cylindrique à travers un treillis en cuivre pénètre dans la boîte latérale par les deux extrémités du moule cylindrique, puis est pompée par une pompe à eau blanche pour être recyclée.

Le maillage intérieur du moule cylindrique est généralement de 8 à 16 mailles, principalement utilisé pour disperser la pression des rouleaux et maintenir le maillage de surface plat. Le maillage est relativement dense et est utilisé pour filtrer les fibres afin de former une bande de papier, généralement comprise entre 40 et 100 mesh. Le choix du maillage dépend principalement de la variété de papier produit, et le maillage le plus couramment utilisé pour produire du papier culturel général est de 65 mesh.
La figure suivante montre une forme structurelle du moule cylindrique de type copeau. Le moule cylindrique de type puce fait référence au changement du disque extérieur d'un moule cylindrique ordinaire d'un fil de cuivre d'un diamètre de 3 mm à une plaque en acier inoxydable de section rectangulaire. Ses principales caractéristiques sont : l'augmentation de la surface et de la vitesse de filtration et l'amélioration de la production ; Améliorer la qualité du papier, y compris l'uniformité, le grammage, le rapport hauteur/largeur, et réduire la consommation et les coûts de maintenance des treillis en cuivre, des feutres et d'autres matériaux ; Renforcez l'intégrité globale et les performances anticorrosion de l'équipement, avec une résistance élevée, une bonne rigidité et une durabilité. Il existe trois types de moules cylindriques qui ont été développés et produits : les copeaux traversants, les copeaux d'enroulement et les copeaux inclinés.
![]() | ![]() |
Comment prolonger la durée de vie du feutre de presse dans les machines à papier
Pourquoi le formage du tissu est-il important pour la machine à fabriquer du papier ?
Votre presse a-t-elle senti une inclinaison sur la machine à papier ?
Sun Hong formant le tissu fonctionnant de manière stable sur une machine à papier de 1 200 m/min
Connaissez-vous le moule cylindrique pour machine à papier ?